目前國內的螺旋板式強油水冷卻器在電爐變壓器上應用較多,已取得了相當豐富的運行經驗。浙江橫山鐵合金廠、青海西寧鋼廠、浙
江開化硅鐵廠、甘肅蘭洲鋼廠、太原鋼鐵公司、浙江淳安鋼廠、甘肅劉家峽硅鐵廠、江蘇無錫第二鋼鐵廠、河南鞏縣鋼廠、河南偃師電廠、戚墅堰鑄鋼車間、廣西靈川冶煉廠、湖北鶴峰縣新春工業硅廠、四川錦竹東方汽輪機鑄造分廠、廣西中山縣金屬硅廠、無錫胡埭鋼廠、四川汶川縣都江堰叁力鐵合金廠、 四川內江變壓器廠、云南硯山縣阿舍宏光鐵合金廠、浙江元立集團、湖北大冶市新冶特鋼有限公司、云南文山麻栗坡大坪鐵合金廠、 山東鄒平華峰不銹鋼有限公司、杭州蕭山江盛鑄鍛有限公司、浙江元力集團河南鶴壁鑫熔鑄業有限公司、廣東五華聯創變壓器有限公司、吉林新冶設備有限公司、河南新密電力設備修造廠、 山東萊蕪義和金屬有限公司、浙江嵊州寶裕金屬制品有限公司、浙江長城集團變壓器廠、浙江中變變壓器有限公司、貴州黔東南州廣盛冶金有限公司、湖北黃石華源機械設備有限公司、江西新余華峰特鋼、重慶鑫騰冶金爐料有限責任公司、重慶特鋼廠等單位的電爐變壓器都陸續采用了該產品——螺旋板式強油水冷卻器。
螺旋板式強油水冷卻器獨特的設計制造吸收國內外同類產品的優點,技術先進,性能優良,質量可靠,是用于變壓器強油水冷卻器的******產品,其各項技術指標均符合JB/T7633—94標準,其冷卻器效率超達技術要求,冷卻效果非常顯著。
BLS0.6型變壓器用螺旋板式強油水冷卻器
螺旋板式的特點結構和工作原理
螺旋板式一種新型的應用相當廣泛的熱交換設備,它具有傳熱效高阻力損失小、操作穩定可靠、結構緊湊、價格便宜等一系列優點。我國60年代三期開始研究制造并制訂了相應的技術標準,在制造和使用上已積累了不少經驗,目前已廣泛應用在石油化工制冷、有機化工食品、染料制堿制藥、機械、冶金等工業部門, 用作變壓器油冷卻器是國內首創已有近20年歷史,效果甚佳,螺旋板強油水冷卻器是由兩張厚度為2~3mm,卷板卷制成兩個均勻方向上各道的螺旋體。在兩通道內分別有一種載熱體(油和水)呈全逆流狀態進行熱量交換。其冷卻面積為兩鋼板的展開長乘以鋼板寬之和。為了增強鋼板的剛度、提高螺旋體的臨界壓力,在兩張鋼板的同一相面上焊接有一定密度的定距柱,這樣亦可增加加流體的攏動性、增大雷諾數、提高傳熱效率。
由于螺旋通道曲率均勻通道中流體無大的換向, 因而阻力較小且無死角。為了提高換熱效果通常流體在通道中流速轉大,可防止通道污垢堵塞,且通道本身有自潔作用,另外兩螺旋通道中還留有排氣(液)孔便于操作又可取樣化驗之用。
一、BLS0.6型電爐變壓器用螺旋板式強油水冷卻器型號說明
二、特點:
1、傳熱效率高
總傳熱系數最高達到3300Kcal/m2.h℃,傳熱效果優于YF(風冷)冷卻器和傳統的列管換熱器,是列管換熱器的1~3倍,從而節約了能源,且有良好的經濟性。
2、熱損失少
本油冷卻器結構緊湊,占地面積、外露表面均少。 若常溫流體從外邊緣通道流至油冷卻器中心,則無需保溫。
3、結構可靠
油、水兩通道為整板卷制、焊接密封,保證了油水熱交換時不會混合,從而使變壓器能安全運行。
4、自清洗功能
本油冷卻器可在確保通道壓力降不大的情況下,適當增大液體流速, 可以提高傳熱效果。液體呈螺旋形流動,具有自動清洗功能,污垢不易沉積,從而減少了停車檢修,節約了維修費用。
三、技術參數
1、公稱壓力規定為0.6MPa(注:指單通道承受的******工作壓力,本公司試驗壓力為設計壓力的1.25倍)
2、允許的工作溫度:碳鋼冷卻器允許溫度范圍為:-5℃~+200℃,不銹鋼冷卻器允許溫度范圍,是-10℃~十300℃。碳鋼冷卻器允許溫度升溫降壓范圍應按有關操作規定。
3、選用設備時,應通過適當的工藝計算,選定流體的合適工作狀態,使油冷卻器通道內的流體達到湍流狀態(一般液體流速≥Im/sec、氣體流速≥10m/SeC)。
4、用戶可根據不同工況選用不同材質,本手冊中,符號C表示Q235A材質,符合S表示不銹鋼SUS304、oCrI8Ni9、1CrI8Ni9Ti、316L等材質,由用戶在訂貨時選定。
5、單臺冷卻器使用時,一般使用雙油泵,一臺使用另一臺備用,如單臺設備不能滿足使用要求時,可以采用多臺聯合使用,但組合必須符合下列規定:
①并聯組合:只限于同一規格的油冷卻器:
②串聯組合:冷卻器的板寬和通道間距都應相同;
③混合組合:一個通道并聯,另一通道串聯,只限于同一規格的冷卻器。
6、安裝形式: 臥式和立式。為使用停車后準物料徹底排干凈,通常使用立式。
7、油冷卻器接管方位以產品出廠圖紙為準,按管公稱直徑按表一選取。如用戶有特殊要求,可與本公司技術部協商,在用戶選定規格后,可來函索取外型尺寸參考圖。
四、BLS0.6型電爐變壓器用螺旋板式強油水冷卻器的選用和安裝
①油冷卻器的選用
目前,對電爐變壓器選用的油冷卻器,本公司已經有系列型號(見表一)。冷卻介質為水, 冷卻水的最高進口溫度不能超過30℃,否則將影響冷卻效果。冷卻水的水質應達到下列指標: 渾濁度≤50mg/L、碳鋼鈣100—200mg/L、硫酸鈣1500~2000mg/L、鐵0.1mg/L、錳0.1 mg/L、硫化氫0.5 mg/L、pH值=7、冷卻水保和指標1>0(如果1<0會對不銹鋼有腐蝕傾向)。敬請用戶注意: 如因為水質超標而引起的后果,用戶自負。
對通常的3000~12500KVA電爐變壓器,可按表二選配油冷卻器,其實際流量可根據變壓器的使用溫度高低用控制閥門加以調節。為避免滲漏最好選用質量好的閥門連接管路。
②油冷卻器的安裝
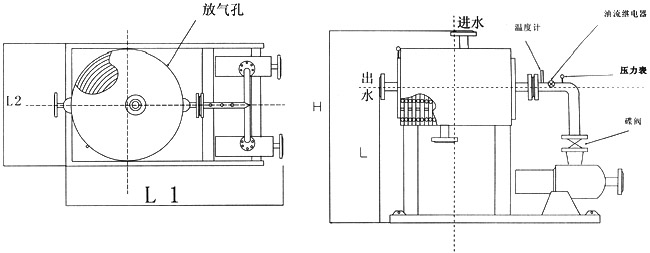
在出廠前,雖然變壓器油冷卻器都按企業專業標準進行嚴格的檢驗,在清理兩螺旋通道后,再進行氣壓試驗。但在現場安裝試車前,仍應注意對兩螺旋通道的清洗, 尤其是變壓器油通道內不能有雜質和水分。然后,用變壓器油對油通道進行壓力試驗,并檢查油樣的電氣強度,全部指標合格后才將油冷卻器與變壓器本體管路聯接起來。油冷卻器與變壓器的連接同列管式換熱器類似:熱油從變壓器上部用油泵抽出,進入油冷卻器, 然后經油箱下部流回變壓器,為監控變壓器油的安全循環流動,油通道進接管處安裝了溫度計,油進口處安裝壓力表和油流繼電器??筛鶕脩粢?,使溫度計和壓力表做到現場和控制室同步監控,用戶在訂貨時根據需要向制造廠提出。
表一BLS0.6型電爐變壓器用螺旋板式強油水冷卻器的選型參考表
| 變壓器容量 | 選用有冷卻器型號(供參考) | 油冷卻器參數 | |
| 熱換面積m2 | 流量m3/h | ||
| 3000 | BLS0.6-15 | 15 | 39 |
| 4000 | BLS0.6-20 | 20 | 39 |
| 600 | BLS0.6-30 | 30 | 39 |
| 800 | BLS0.6-40 | 40 | 39 |
| 12500 | BLS0.6-60 | 60 | 39 |
| 1500 | BLS0.6-70 | 70 | 39 |
| BLS0.6 | 換熱面積m2 | 額定冷卻功率KW | 接管法蘭HG5010-50(平面) | H | L | L1 | L2 | ||
| 高 | B1b2 | Cd | |||||||
| BLS0.6-10 | 10 | 100 | 80 | 80 | 1200 | 750 | 1200 | 900 | |
| BLS0.6-14.5 | 14.5 | 145 | 80 | 80 | 1400 | 800 | 1200 | 1000 | |
| BLS0.6-16 | 16 | 160 | 80 | 80 | 1400 | 800 | 1300 | 1000 | |
| BLS0.6-20 | 20 | 200 | 80 | 80 | 1400 | 800 | 1300 | 1000 | |
| BLS0.6-25 | 25 | 250 | 80 | 80 | 1480 | 800 | 1400 | 1100 | |
| BLS0.6-31.5 | 31.5 | 315 | 80 | 80 | 1600 | 950 | 1500 | 1100 | |
| BLS0.6-40 | 40 | 400 | 80 | 80 | 1600 | 950 | 1600 | 1200 | |
| BLS0.6-50 | 50 | 500 | 80 | 80 | 1600 | 950 | 1700 | 1250 | |
| BLS0.6-63 | 63 | 630 | 80 | 80 | 1800 | 1100 | 1750 | 1250 | |
| BLS0.6-80 | 80 | 800 | 80 | 80 | 1800 | 1100 | 1750 | 1300 | |
| BLS0.6-100 | |||||||||
| BLS0.6-125 | |||||||||
單臺立式外型圖
BLS0.6型電爐變壓器用螺旋板式強油水冷卻器外型圖(立式安裝)
二臺一組立式
1.螺旋板式強油水冷卻器獨特的設計、制造,吸收國內外同類產品的優點,技術先進、性能優良、質量可靠,是用于變壓器強油水冷卻器的******產品,其各項技術指標均符合JB/T7633—94標準,其冷卻器效率超達技術要求,冷卻效果非常顯著。
2.為保證變壓器的安全,使用中油壓必須高于水壓0.05~0.1MPa,開機先開油鈕,關機先關水通鈕。
3.冬天如不使用,打開放氣水閥把水排盡,避免凍壞設備。
表三
| 冷卻功率(KW)材質304 | 重量(KG) | 油存量(KG)≈ |
| 100 | 650 | 30 |
| 120 | 700 | 35 |
| 160 | 800 | 40 |
| 200 | 900 | 45 |
| 250 | 1000 | 55 |
| 315 | 1150 | 70 |
| 400 | 1250 | 80 |
| 450 | 1350 | 90 |
| 500 | 1500 | 100 |
| 630 | 1800 | 130 |
| 800 | 2200 | 160 |

